在现代电源管理领域,对于高效、可靠的PWM控制器的需求日益增长。LP8773H,由Chip Hope Micro-electronics LTD开发,正是一款满足这些需求的高性能第二代准谐振PWM隔离反激控制器。本文将详细介绍LP8773H的供电电压、内部框架图以及典型应用,展现其在电源管理领域的卓越性能。
LP8773H的供电电压范围广泛,推荐工作范围为11至29伏特。这一广泛的电压范围使得LP8773H能够适应不同的电源环境,确保在各种条件下都能稳定工作。此外,LP8773H还具备VDD欠压、过压以及钳位?;すδ埽徊皆銮苛似湓诓煌缪固跫碌奈榷ㄐ院涂煽啃?。

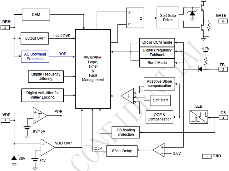
LP8773H的内部结构设计精巧,集成了多种?;すδ芎涂刂苹啤F淠诓靠蚣馨ǖ幌抻谝韵录父龉丶糠郑?br/>
数字抗抖动技术:实现无音频噪声操作,提升用户体验。
数字抖频技术:优化EMI性能,满足严格的电磁兼容性要求。
多模式控制方式:根据负载情况自动调整工作模式,提高功率转换效率。
内置软启动功能:减少启动时的电流冲击,?;さ缏贰?br/> 管脚浮空?;ぃ悍乐挂蚬芙鸥】盏贾碌牡缏饭收稀?br/> 逐周期电流限:确保电流在安全范围内,防止过载。
LP8773H的典型应用包括但不限于隔离AC/DC反激变换器和小家电电源。其在小家电电源领域的应用尤为突出,如电磁炉、电饭煲、咖啡机等。LP8773H的高效率和高可靠性使其成为这些设备的理想选择。

LP8773H的典型应用电路包括EMI滤波器、AC输入、VDD供电、GATE驱动、FB反馈、CS电流采样和DEM退磁检测等。这些组件共同工作,确保了LP8773H在各种应用中的高性能表现。
LP8773H作为一款高性能的准谐振PWM控制器,以其宽泛的供电电压范围、精巧的内部框架设计和广泛的典型应用,成为了电源管理领域的佼佼者。无论是在家用电器还是工业设备中,LP8773H都能提供稳定、高效的电源转换解决方案。
如果需要获取LP8773H完整版规格书请联系三佛科技官网右侧在线客服~,免费提供样品和技术支持!